11月25日上午,華儀電氣股票開盤后從上一交易日的3.81元跌至3.43元,跌幅將近10%。11月26日上午,華儀電氣股票開盤持續下跌,開盤只有3.21元,較上日收盤繼續跌了6.4%,截至上午11點收盤,股票下跌6.41%。僅僅不到兩天的時間,華儀電氣市值蒸發了4.63億,縮水幅度接近兩成。股票連續下跌的原因是因為華儀電氣被控股大股東“坑了”。除了違規擔保,華儀電氣還存在控股股東資金占用問題。截至9月30日,公司累計關聯方資金占用22.12億元,雖然累計歸還11.55億元,關聯方資金占用余額依然有10.57億元。
華儀電氣11月24日發布公告稱:華儀電氣為公司控股股東華儀集團及其控股子公司華儀電器集團浙江有限公司及其他第三方等主債務人違規提供擔保92590萬元;經過審議程序的49350萬元合規擔保中出現了2.14億元逾期;另外,關聯方占用公司資金10.58億元。上交所得此消息第一時間發出監管工作函,要求公司盡快核實大額違規擔保和資金占用產生的具體形式和原因,以及相關內部控制規定及失效的原因,同時明確相關責任人及追責措施。
禍起蕭墻
華儀電氣股份有限公司原來是華儀集團有限公司旗下核心控股公司,也是溫州地區首家A股主板上市的民營企業。公司業務涵蓋輸配電、風電、環保、工程總包、金融投資、國際貿易等多個領域。華儀電氣此次財務危機,沒想到居然與控股母公司華儀集團脫不了關系。

原來華儀電氣及全資子公司浙江華儀電器科技有限公司和華儀風能有限公司存在未履行程序為公司控股股東華儀集團及其控股子公司華儀電器集團浙江有限公司及其他第三方等主債務人提供擔保的情況。截至公告披露日,違規擔保金額高達9.26億元,占公司最近一期經審計凈資產的22.75%。其中:為控股股東及其關聯方的擔保金額為4.94億元;為其他第三方的擔保金額為4.32億元。
違規擔保問題只是其中一個方面,關鍵是違規擔保的債務出現逾期,國際能源網記者獲悉,截至公告披露日,公司經董事會審議并報公司股東大會審議批準的對外擔保共計5.9億元,其中已逾期的對外擔保共計2.14億元。
通常來說,控股股東因為旗下公司惹事背上沉重債務負擔的情況較多,比如寧德時代就是受沃特瑪牽連導致公司走上破產之路,而像華儀電氣這樣被母公司坑的卻并不常見。華儀電氣對此事的態度也非常堅決,那就是堅決不會為母公司買單。華儀電氣在公告中態度強硬地指出:“上述違規擔保事項未履行董事會、股東大會決議程序,公司亦未予以追認,公司將積極應對,主張上述違規擔保對公司不發生效力。”
大股東承諾一個月解決難題
華儀電氣作為華儀集團旗下核心子公司,為集團的發展立下汗馬功勞。此次背著上市子公司違規擔保債務的行為,集團公司也深感愧疚,因此華儀集團作出承諾,在公告披露之日起1個月內解決上述上市公司對外擔保和資金占用的問題。
然而華儀電氣想就此消除不利影響可能并不容易。國際能源網記者從天眼查網站查詢發現,華儀集團、華儀電氣已經因為擔保事件涉訴。

華儀電氣為華儀集團擔保不是一次兩次,僅2019年8月-9月兩個月的時間,華儀電氣為集團擔保的金額已有3.65億。

華儀電氣今年投資了多個項目,累計計劃投資高達25.49億,而實際籌措的資金只有2.63億元,公司今年前三季度的歸屬凈利潤卻只有1102萬,扣非凈利潤甚至是-2983萬,華儀電氣近幾年的盈利狀況非常不穩定。從2015年至2018年,公司的盈虧交疊變換,去年的扣非凈利潤為-1.13億,今年前三季度好不容易業績有所好轉,但沒想到被控股的集團公司坑了,莫名其妙背負了不少債務風險。
監管早有預警
華儀電氣的問題其實證券監管部門早有警示,只是公司并沒有對此事重視。早在今年4月,上交所就曾下發問詢函,指出華儀公司擬為控股股東華儀集團提供擔保,擔保累計金額不超過7億元,由華儀集團提供反擔保相關事項,并要求華儀電氣補充披露對外擔保的安全性、如控股股東出現償債違約的保障措施等。四個月之后,華儀電氣的回復問詢函才姍姍來遲,迫于監管的壓力,僅擬為華儀集團提供不超過2億元的擔保額度,并要求華儀集團以持有的華儀投資股權作為質押擔保。
此次華儀電氣自曝財務炸雷后,上交所首先就指出前期已連續多年對公司年報進行事后審核,并分別于2016年至2018年向公司發出年報事后審核意見函,且在今年年內對公司為控股股東提供擔保事項的問詢函中,反復要求公司及董監高、會計師核查公司控股股東資信情況、公司業務情況,款項收回情況、對外投資情況等,并要求充分評估關聯擔保的風險,相關回復內容與公司本次自查情況出現重大反差。也就是說,監管部門早就預警過,可惜華儀電氣自己卻沒有重視,沒有根據預警進行自查。
如今,上交所要求華儀電氣盡快核實大額違規擔保和資金占用產生的具體形式和原因,相關內部控制規定及失效原因,明確相關責任人及追責措施,是否存在信息披露違規的情形,以及制定具體整改措施和期限。
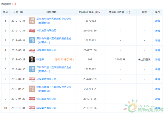
令人感到憂心的是,華儀集團因為債務問題,多次質押了公司股權。想再利用股權融資之路恐怕走不通。從近年來股權質押的情況看,截至11月22日,華儀集團持有上市公司2.34億股,占公司總股本的30.83%,處于質押狀態的股份數量為2.34億股,占其持有公司股份總數的99.9963%,處于凍結狀態的股份數量為2.34億股,占其持股總數的100%。

華儀電氣很多項目都需要籌資建設,僅今年新建的項目資金缺口就有22億,而1-9月籌資凈現金流是-1.331億,籌來的資金有4.509億用于償還債務。華儀電氣如何才能擺脫母公司帶來的不利影響,可能并不像母公司華儀集團承諾得那樣一個月就能搞定,層層的債務困局需要華儀電氣花不少時間才能解決。華儀電氣應該深刻反思公司財務監管制度方面的漏洞,防止類似事件發生才是最重要的。